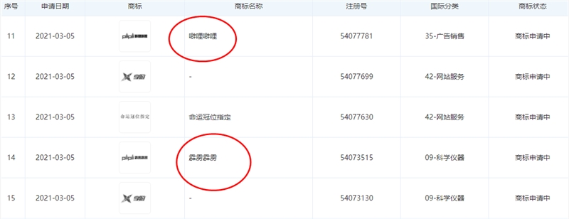
3月13日 消息:根据天眼查信息显示,B 站关联企业上海幻电信息科技有限公司申请注册 “霹雳霹雳”、“噼哩噼哩”商标,国际分类涉及广告销售、科学仪器、教育娱乐等,申请日期为2021年3月,目前商标状态为 “商标申请中”。

另外,上海幻电信息科技有限公司于3月3日还申请注册 “BVideo”、“bilibili 影业”等商标,涉国际分类教育娱乐、广告销售等,商标状态同样为注册申请中。
这并不是B站第一次申请“霹雳霹雳”、“噼哩噼哩”这类听起来有趣的商标名称,去年11月,上海幻电信息科技有限公司还申请注册 “呵呵呵”商标,国际分类为 “41- 教育娱乐”、“9- 科学仪器”。对于B站申请的商标你又是怎么看的呢?
咨询热线:
86-592-5151555
地址: 厦门市集美区软件园三期A3栋504室
QQ:1039899831
固话:86-592-5151555
手机:18020730588(赖先生)
官网:www.tiptop.cn
Copyright © 2000-2021 www.tiptop.cn
游戏作品版权归原作者享有,如无意之中侵犯了您的版权,请您按照《版权保护投诉指引》来信告知,本网站将应您的要求删除。